compare_arrows
Produkte vergleichen
×
Suche
+ 49 699 501 96 08
shop24@jazgot.at
EUR €
EUR €
PLN zł
Email address
Passwort
Forgot your password?
Anmelden
Not registered yet ?
Sign Up
0
Warenkorb
Anzahl Produkte
0
Preis:
0,00 €
Warenkorb
Order
0
Warenkorb
Anzahl Produkte
0
Preis:
0,00 €
Warenkorb
Order
Startseite
CBD20L3
CBD20L3
CBD20L3
Inhaltsverzeichnis
Karosseriesystem
Pleuelstange Baugruppe
Antriebsbaugruppe
Antriebsbaugruppe (elektrische Absenkung)
Antrieb
Bedienhebelbaugruppe
Bedienhebelbaugruppe (elektrische Absenkung)
Antriebseinheit
Elektrobaugruppe
Karosseriesystem
7
10
13
14
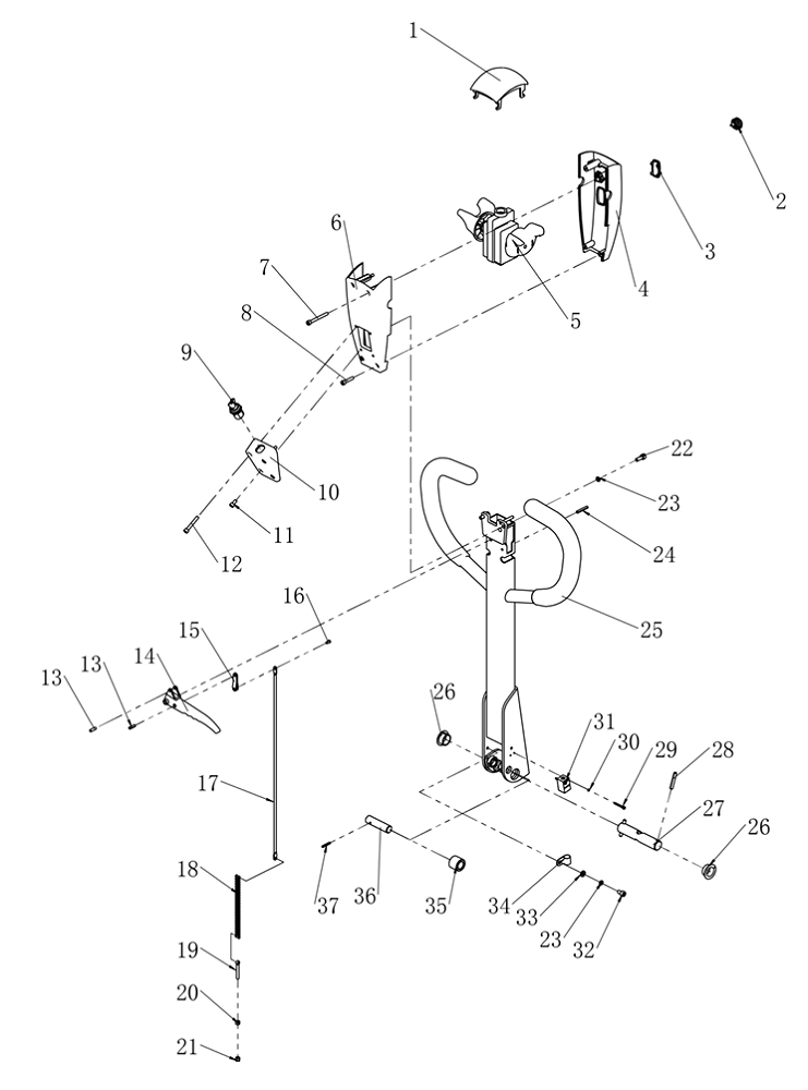
Pleuelstange Baugruppe
1
3
4
5
7
8
9
10
11
12
13
14
15
16
17
18
19
20
21
22
23
24
25
26
27
28
29
30
31
Antriebsbaugruppe
8
13
18
20
21
23
26
27
Antriebsbaugruppe (elektrische Absenkung)
3
10
15
21
22
27
28
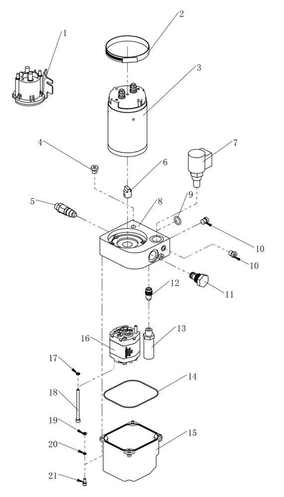
Antrieb
1
4
6
7
8
9
10
11
12
14
15
18
19
20
21
23
31
33
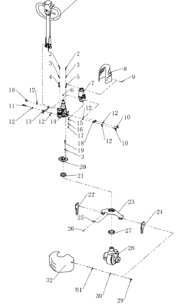
Bedienhebelbaugruppe
1
2
3
4
5
6
9
10
14
15
16
17
19
20
21
24
26
28
31
35
38
39
Bedienhebelbaugruppe (elektrische Absenkung)
1
2
3
4
5
9
12
13
18
19
20
Antriebseinheit
1
3
14
15
16
Elektrobaugruppe
1
2
8
vorherige
Seite x von y
nächste
×
×
×
×
×
×
×
×
×
4.8
star
star
star
star
star
(321)