compare_arrows
Produkte vergleichen
×
Suche
+ 49 699 501 96 08
shop24@jazgot.at
EUR €
EUR €
PLN zł
Email address
Passwort
Forgot your password?
Anmelden
Not registered yet ?
Sign Up
0
Warenkorb
Anzahl Produkte
0
Preis:
0,00 €
Warenkorb
Order
0
Warenkorb
Anzahl Produkte
0
Preis:
0,00 €
Warenkorb
Order
Startseite
EPS12E
EPS12E
TS12
Inhaltsverzeichnis
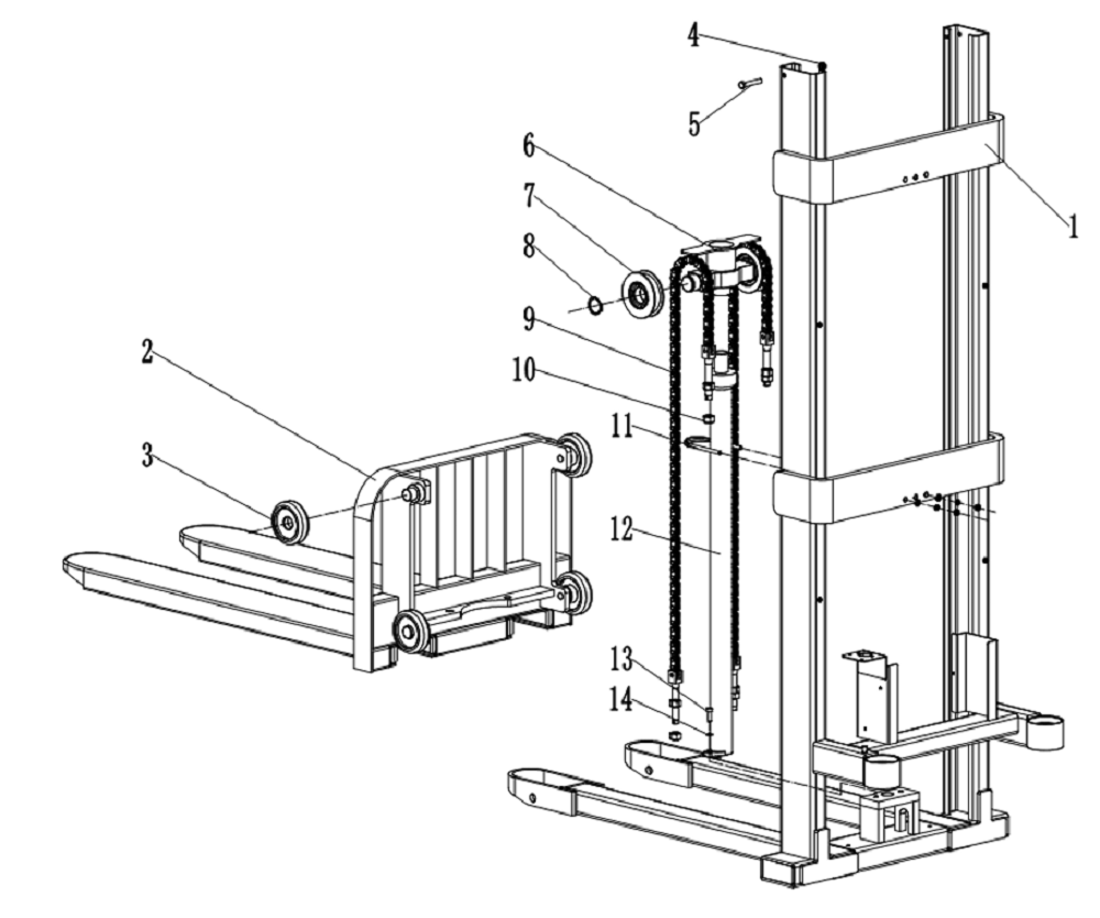
rahmen
Mast
mast
rahmen
1
4
5
8
9
12
13
Mast
2
4
13
4
mast
3
vorherige
Seite x von y
nächste
×
×
×
4.8
star
star
star
star
star
(321)